BMW уже несколько лет находятся в авангарде разработки систем подсветки поворотов, и в их арсенале имеются несколько способов улучшения света, когда мотоцикл находится в наклоне. Последняя идея, раскрытая в новой патентной заявке, основана на стабилизаторах для видеокамер, и способна проложить путь к ещё более продвинутым технологиям освещения.
Трёхосевой стабилизатор с камерой и диодной матричной фарой от BMW
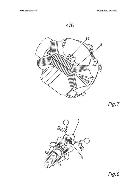
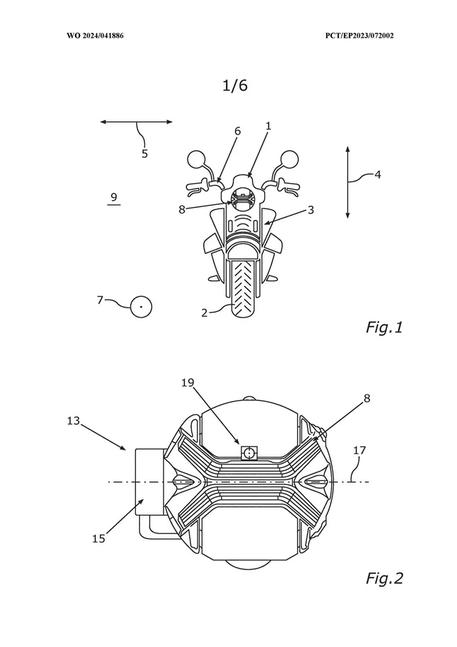
BMW уже создали фары, в которых источник света может двигаться относительно корпуса для компенсации наклона и клевка. Например, опциональная адаптивная фара с подсветкой поворотов Headlight Pro на R 1250 GS позволяет источнику ближнего света поворачиваться на 35 градусов в каждую сторону, чтобы компенсировать наклон в повороте и изменение развесовки по осям. Но последняя патентная заявка представляет собой дальнейшее развитие этой идеи: весь блок фары крепится к трёхосному подвесу, который по сути идентичен современным стабилизаторам для смартфонов и фотовидеокамер (их ещё называют стедикам - Steadycam)
Первая ось позволяет фаре продолжать ровно светить, когда мотоцикл наклоняется в поворот. Второй компенсирует просадку передней и задней подвески - например, при клевке на торможении или когда вилка расслабляется, а задняя подвеска сжимается на открытии газа. Третья же ось позволяет фаре физически поворачиваться в направлении апекса поворота, чтобы подсвечивать именно тот участок дороги, к которому вы двигаетесь. Вся система управляется тем же инерциальным блоком, на котором построены современные электронные ассистенты, учитывающие наклон мотоцикла. Как и в случае со стедикамами, фара сохраняет положение относительно горизонта даже когда остальной мотоцикл движется под ней.
От идеи физического перемещения фары во время прохождения поворотов BMW на новом R 1300 GS отказались: на этой модели опциональная адаптивная фара Headlight Pro реализована в виде матричной светодиодной оптики, в которой крайне линзованные источники направлены в нужные стороны и включаются при наклоне мотоцикла. Но в новой патентной заявке имеется дополнительный элемент, который объясняет возврат к подвижной фаре, подвешенной на трёхосевом стабилизаторе: в фару там встроена камера.
Её точное предназначение в патенте не раскрывается, но сообщается, что она "предназначена для съёмки как минимум одной области пространства" - а именно, той части, которая освещается фарой. Можно предположить, что речь идёт не столько о бортовом регистраторе, сколько о дополнительных электронных ассистентах на основе машинного зрения - например, о контроле полосы, автоматическом торможении или адаптивном круиз-контроле. Но ещё одна весьма вероятная причина кроется в том, что в некоторых странах сейчас разрешили автоматическое управление дальним светом: его можно оставить включенным, при условии, что на транспортном средстве есть система, отключающая дальний луч при обнаружении на встречной полосе других транспортных средств. В случае матричной оптики такая система способна отключать лишь ту часть дальнего луча, которая слепит встречку, а остальная часть дороги останется освещённой максимально ярко.
Объединив трёхосевой стабилизатор, камеру и диодную матричную оптику в один блок, компания сможет внедрить технологию выборочного затемнения дальнего света на мотоциклы, а стабилизатор упростит установку подвижной фары на некапотированный мотоцикл. Но есть ли в этом реальный смысл, или это чистый маркетинг? На этот вопрос можно ответить только в ночной поездке с такой фарой по тёмной дороге.

