Супер тормоза Hitachi Astemo
Компания Hitachi Astemo (которая с 1 апреля будет просто называться Astemo) - это один из крупнейших поставщиков компонентов для двух- и четырёхколёсной индустрии. Одним из их основных акционеров является Honda, а сами Astemo в свою очередь владеют многими известными брендами, включая производителя подвесок Showa и производителя тормозных компонентов Nissin.
Общность двух этих компаний открывает дверь к более монолитным конструкциям подвесок и тормозов, что и демонстрируется в новой патентной заявке. В ней показано, как нижние наконечники вилки могут обеспечить эффективное охлаждение тормозов.
Компания уже давала понять, что размышляет в этом направлении, когда на прошлогодней EICMA показала концепт под названием "Конструкция гармонизированного функционала". В нём наконечник вилки и передний тормозной суппорт изготовлены из единого куска алюминия, и на соответствующих частях нанесены логотипы Showa и Nissin. Astemo сообщают, что эта конструкция на 200 граммов легче, чем обычные варианты, и на 5% эффективнее рассеивает тепло благодаря тому, что наконечник вилки выступает в качестве дополнительного радиатора для суппорта.
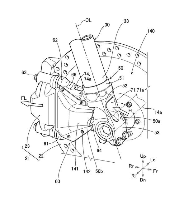
Однако, компания тогда не упомянула главного: в цельной конструкции имеется аэродинамический воздуховод, проходящий прямо насквозь наконечника вилки между хомутом оси и пером вилки. А вот в новой патентной заявке именно на этот элемент сделан основной упор.
Вполне логичный шаг: при всех потенциальных преимуществах концепта с EICMA, есть у цельной конструкции суппорта и наконечника вилки и недостатки. Например, обслуживание будет гораздо сложнее: для замены колодок придётся снимать колесо и тормозной диск, потому что суппорт снять не получится. Но воздуховод, проходящий через наконечник пера и направляющий воздух прямо на суппорт, может быть и на вилке с обычным суппортом на кронштейне. Собственно, в патенте это так и изображено.
Достаточно посмотреть на невероятно сложные воздуховоды охлаждения современных гоночных мотоциклов (да и некоторых дорожных), например, CFMoto 675SR-R, чтобы понять, что обдув суппортов - весьма серьёзная задача. Отверстие в нижней части вилки даёт больше места для воздуховода, не увеличивая парусность и вес передней часть мотоцикла и не меняя направления воздушного потока.
Супер тормоза Hitachi Astemo
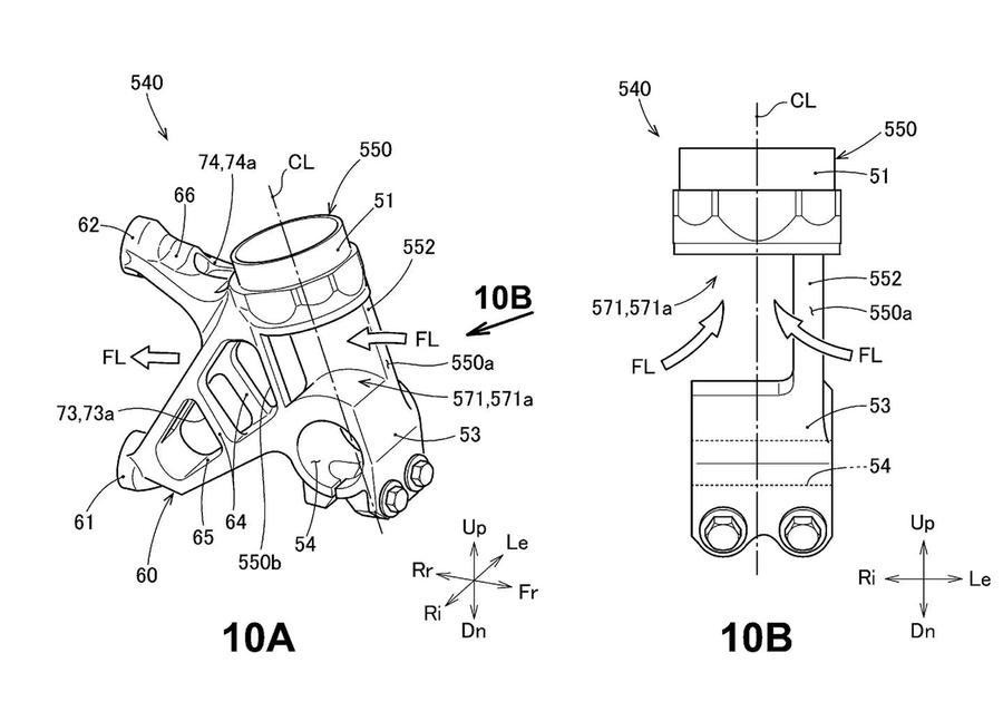
Основной вариант конструкции, показанный в новом патенте, имеет две боковые пластины, крепящиеся к наконечнику вилки в районе зажима оси. Они создают отверстие, видимое при взгляде спереди, а тонкие решётчатые кронштейны по бокам крепят обычный четырёхпоршневой радиальный суппорт. Это значит, что сами тормоза переделывать не понадобится, и нет никакой разницы в плане сложности обслуживания, но есть плюсы с точки зрения аэродинамики и охлаждения.
Дополнительные версии конструкции, проиллюстрированные в патенте, добавляют дополнительный воздуховод сбоку, ведущий к суппорту, или оребрённую пластину для управления потоком воздуха. Также компания включила варианты этой идеи с одной вертикальной пластиной, прикрепляющей нижнюю часть вилки к оси и расположенной либо по центру, либо со смещением в одну сторону и ещё более открывающей эту область, опираясь на кронштейн суппорта и сам суппорт для дополнительной жёсткости.
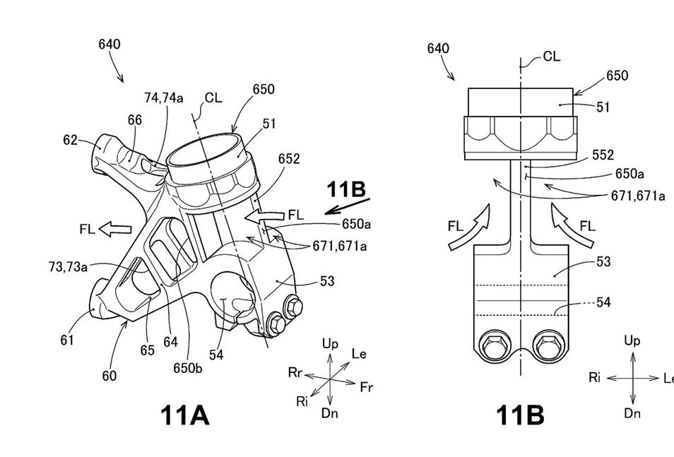
А в ещё одном варианте открытый и сложный кронштейн суппорта заменён на более простую конструкцию, цельную с одной стороны, а с другой имеющую отверстия для обдува суппорта.






