Polaris работает над турбированным двухтактным снегоходным двигателем
Опубликованы девять патентных документов относительно турбированного двухтактника.
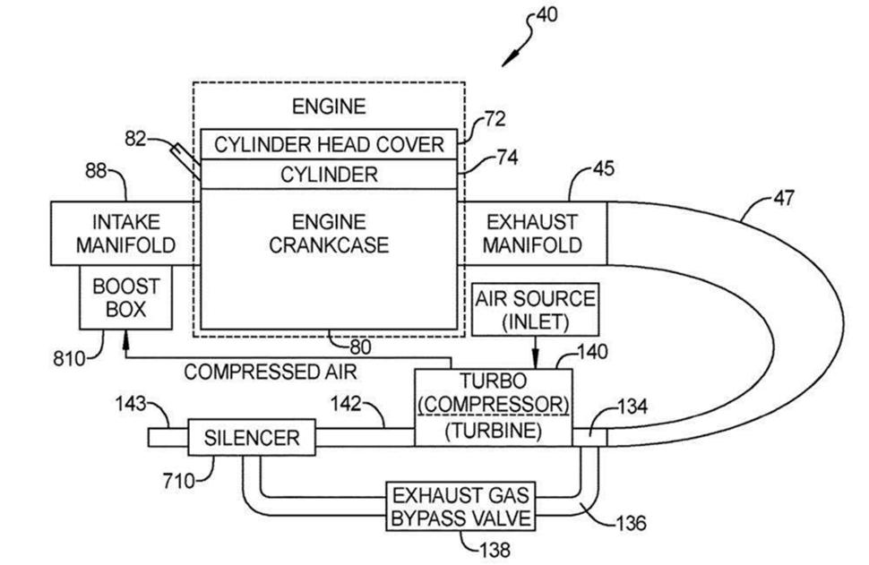
В прошедшем январе Ski-Doo представили первый в индустрии турбированный двухтактный двигатель в составе Summit 850 E-TEC Turbo. Судя по всему, Polaris не намерены позволять канадскому конкуренту оставаться монополистом в производстве турбированных двухтактных снегоходов, поскольку недавно было обнаружено аж девять патентов от Polaris, касающихся этого типа снегоходных двигателей.
Патенты Polaris
Мы надеемся, что сегодня у вас найдутся более интересные дела, чем вникать в подробности конструкции двухтактных снегоходов, поэтому решили ограничиться только наименованиями. Итак, патенты касаются:
- Системы турбинного нагнетателя для двухтактного двигателя
- Выхлопной системы снегохода
- Рубашки охлаждения для выпускного клапана, а также термостата и резервуара системы охлаждения
- Перепускного клапана выхлопных газов для турбированного двигателя
- Системы и метода обхода турбочарджера на двухтактном двигателе
- Метода и системы управления давлением в выпускной системе двухтактного двигателя
- Размера регулировочного клапана (вестгейта) турбины для двухтактного двигателя
- Метода и системы предотвращения образования воздушной пробки в турбине
- Управления перепускным клапаном выхлопных газов в турбинном нагнетателе для двухтактного двигателя
Какие снегоходы Polaris будут оснащены турбированным двухтактным двигателем?
Говоря о патентах, нужно относиться к перспективам со сдержанным оптимизмом, но учитывая, что все девять патентов были опубликованы совсем недавно и одновременно, есть, видимо, немалая вероятность поступления турбированных двухтактных снегоходных двигателей в серийное производство.
Мы полагаем, что Polaris в первую очередь поступит так же как Ski-Doo - оснастит турбированными двигателями горные снегоходы. Дело в том, что их преимущество особенно очевидно раскрывается в условиях разрежённого воздуха на больших высотах, где турбированные двигатели теряют мощность не так быстро, как атмосферные. До недавнего времени тяжёлые четырёхтактные турбированные двигатели были единственным способом как-то препятствовать этому, но двухтактные двигатели намного легче.

