Aprilia
В последние несколько лет Aprilia очень сильно укрепила свои позиции в битве за аэродинамику в MotoGP, во многом благодаря бывшему специалисту по аэродинамике Formula-1 Марко Де Луке, который возглавляет техническую сторону проекта. Недавно опубликованные патентные заявки от Де Луки дают более глубокое представление о том, чем компания занимается в этом направлении.
Секреты аэродинамики Aprilia
В патентах изображена версия MotoGP-шной Aprilia RS-GP с некоторыми элементами, которые были на ней на предсезонных испытаниях, но пока не используются в обычных гонках. Они делают на прижимном усилии ещё больший акцент, чем у большинства соперников по MotoGP.
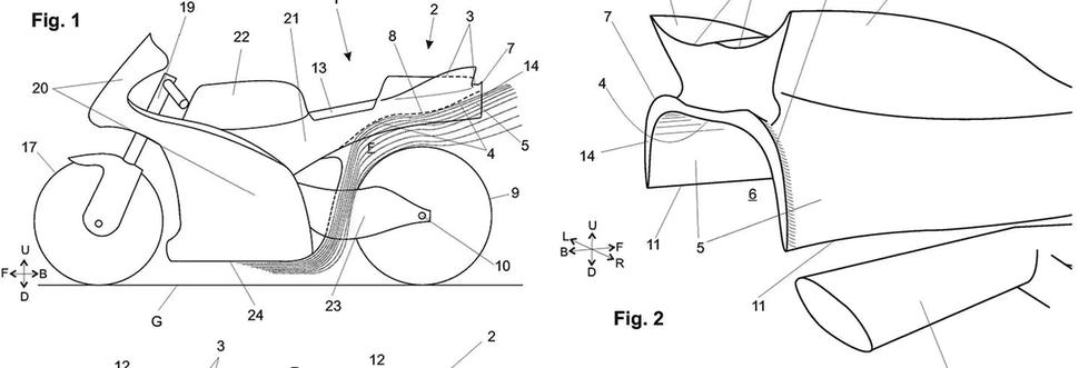
Первый из документов относится конкретно к необычным на вид расширениям, выступающим по бокам от маятника и образующим поверхности, практически полностью закрывающие верхнюю часть заднего колеса. На первый взгляд кажется, что они предназначены для плавного обтекания воздушным потоком, который проходит над нижней частью боковых панелей и направляется точно к задней части мотоцикла, минимизируя тем самым турбулентность, создаваемую вращающимся колесом и лучами колёсного диска. Это должно снизить общее сопротивление воздушного потока и повысить максимальную скорость при том же значении мощности. Патент подтверждает это, но говорит, что это лишь вторичный эффект конструкции, а их истинное назначение - это улучшение управляемости мотоцикла в поворотах.
Эти расширения маятника имеют крыловидное поперечное сечение, они толще спереди и сужаются к задней части. А если смотреть сзади, то они шире сверху и более узкие снизу. В результате, когда мотоцикл находится в максимальном наклоне и максимально зависит от зацепа задней резины, то та панель, которая находится ближе к асфальту, создаёт прижимное усилие, вжимающее силу в покрытие, а также горизонтальную боковую тягу, которая толкает шину (и мотоцикл вместе с ней) внутрь поворота, противодействуя центробежной силе. В патентах также показан элемент крыла меньшего размера, установленный перед осью заднего колеса и также наклонённый внутрь к низу. При максимальном наклоне этот элемент (обозначенный номером 14 на эскизах) становится параллелен поверхности трека и обеспечивает так называемый граунд-эффект - создаёт разрежение воздуха, которое притягивает мотоцикл к земле.
Второй патент относится не к вертикальным панелям на маятнике, а к выраженному тоннелю между верхней частью заднего колеса и нижней частью основы сиденья. Там же имеется отогнутый вверх спойлер. Этот тоннель, подобно диффузору гоночного автомобиля, предназначен для отвода воздуха из-под днища мотоцикла, чему способствуют два воздухозаборника снизу мотоцикла перед задним колесом. Этот приём Aprilia уже несколько лет использует на своих GP-шных мотоциклах, и конкуренты уже переняли его, но туннель над задним колесом имеет конструкцию, усиливающую этот эффект за счёт ускорения воздушного потока и увеличения прижимной силы и устойчивости. На верхней поверхности крылья, простирающиеся вверх, соединяются сзади перевёрнутым спойлером, который должен способствовать отводу воздуха из области под хвостом, создавая пространство внутри хвостовой части, о котором в патенте просто сказано, что там "могут располагаться некоторые узлы мотоцикла". Вероятно, это нечто наподобие "салатной коробки" на GP-шных Ducati, которая появилась в 2017 году. Считается, что в ней находится инерционный демпфер, помогающий предотвратить нежелательные вибрации и вобблинг, а кроме него - часть электроники мотоцикла.
Решение Aprilia подать патенты на эти конструкции, являющиеся частью обширной серии подобных документов, связанных с её GP-шным мотоциклом, необычно. В документах подробно описаны особенности конструкции, которые в противном случае остались бы в тайне, а сами патенты никак не помешают конкурентам копировать их для MotoGP. Другое дело, что конкуренты не смогут использовать подобные решения в своих серийных моделях, а поскольку Aprilia планирует высококлассную гоночную реплику XGP, то вероятно, что эти идеи в скором времени будут воплощены на этом серийном мотоцикле.




