Shoei Opticson
Shoei, один из крупнейших и известнейших производителей мотошлемов на планете, работает над системой встроенного дисплея для шлема, которую они называют Opticson. Компания даже представила на мотошоу в Осаке шлем, оборудованный прототипом этой системы, но скоро может появиться его реальная серийная версия.
Shoei Opticson
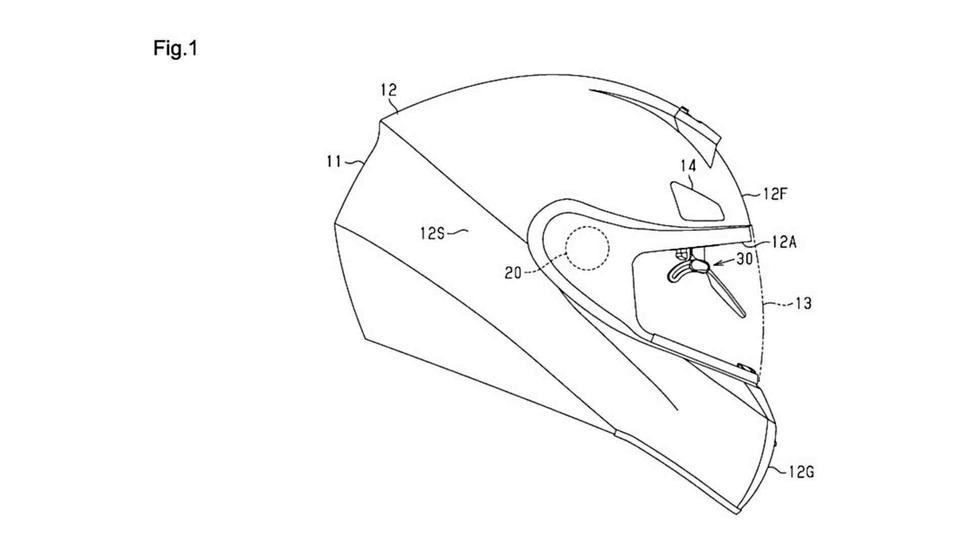
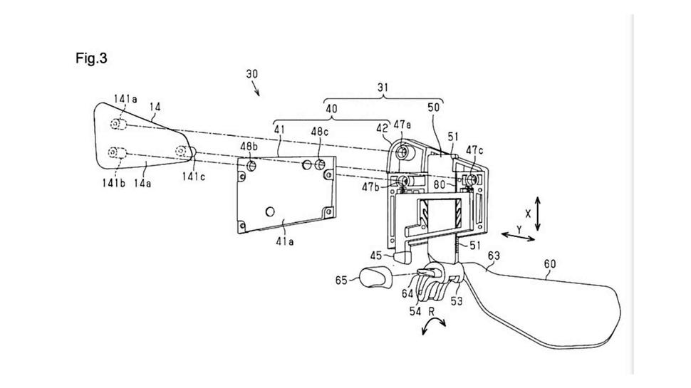
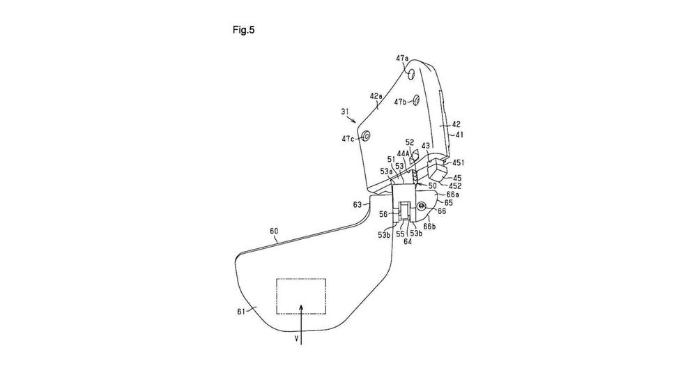
Физическая часть Shoei Opticson состоит из двух основных элементов: дисплея, который устанавливается перед правым глазом райдера на регулируемом креплении, и проекционного модуля, расположенного внутри челюсти шлема. Система Opticson связывается со смартфоном по Bluetooth и отображает достаточно типичную для таких дисплеев информацию - расстояние до следующего поворота, стрелки, подсказывающие направление поворота. В дисплей встроен датчик освещённости, позволяющий автоматически регулировать яркость дисплея для оптимальной видимости.
Навигационная часть - основная функция, продемонстрированная Shoei на выставке, но кроме этого система поможет облегчить ответ на звонки без помощью рук, а также совершение исходящих звонков. На дисплее будет отображаться идентификатор вызывающего абонента, и вы будете знать, стоит ли отвечать на этот звонок, или можно его проигнорировать. По словам Shoei, вся эта информация позволит райдеру меньше отвлекаться, поскольку она отображается на видном месте, но ненавязчиво, и райдеру не нужно отворачиваться от дороги, чтобы посмотреть на руль или дисплей приборной панели мотоцикла.
На данный момент Shoei не предоставила никакой официальной информации о сроках выпуска Opticson, но есть причины полагать, что версия, которую компания продемонстрировала на выставке, близка к серийной, и, вероятно, скоро будет выпущена. Во-первых, японский мотоциклист и видеоблоггер пообщался напрямую с представителем Shoei на выставке, и тот сообщил, что компания надеется выпустить систему ближе к концу 2022 года. Разумеется, это не официальные жёсткие временные рамки, но как минимум это означает, что производство уже в процессе.
Во-вторых, Shoei за последние годы запатентовали несколько решений, касающихся этой системы, в патентных ведомствах Японии и США. Только в США было подано пять патентных заявок за 2021 и 2022 год. И хотя не каждый патент обязательно воплощается в жизнь, это говорит о серьёзности намерений Shoei в отношении этого продукта.






