Патент от Honda на дрон встроенный в мотоцикл
          
        Дроны стремительно становятся незаменимыми в современном мире - хоть для видеосъёмки, хоть в качестве системы доставки покупок, не говоря уж о системах обнаружения пожаров. Да что там говорить, даже пастухи в диких степях с удовольствием пользуются дронами. Но вряд ли вы когда-либо думали о том, что один из них необходим вам в вашем мотоцикле.
Honda хочет встроить дрон в мотоцикл
Зато об этом подумала Honda. Их конструкторское бюро подало патентную заявку на дрон, встроенный в мотоцикл. Совершенно очевидно, что это дело не ближайшего будущего, но творческая мысль разработчиков часто простирается вперёд на десятилетия… Словом, новый патент описывает четырёхвинтовой дрон, припаркованный в хвосте мотоцикла. Суть идеи в том, что это совершенно автономный беспилотник, способный по команде покинуть свой отсек и автоматически вернуться для подзарядки, когда она понадобится.
Спрашиваете, зачем встраивать его в мотоцикл? Вы не одни. Даже в самом патенте Honda этот вопрос практически не раскрыт - там просто перечислены примеры использования дронов без объяснения, почему нельзя возить его с собой в чемодане. Среди потенциальных применений дронов Honda видит доставку заряженных аккумуляторов для электромотоциклов, что решает вопрос с запасом хода, но сегодняшний уровень технологий не способен создать дрон, достаточно небольшой для перевозки в хвосте мотоцикла и при этом достаточно мощный, чтобы перевозить на себе аккумулятор. Более реалистичный вариант — это система удалённого наблюдения за пробками, следящая за дорогой и передающая информацию о проблемах с движением мотоциклисту до того, как их станет видно с земли. Также дрон может быть использован как своего рода промежуточный ретранслятор, расширяющий диапазон работы беспроводных средств связи мотоцикла или для оповещения спецслужб при аварии. Ещё одно забавное применение для дрона, установленного на мотоцикл - работа в качестве дополнительных вентиляторов охлаждения, вытягивающих горячий воздух из радиатора.
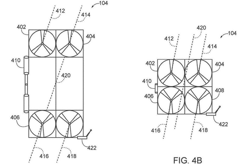
Учитывая, что дроны, системы связи и мотоциклы - вещи довольно обыденные, кажется не совсем понятным, что Honda хочет запатентовать. Судя по всему, основным новшеством дрона, установленного на мотоцикле — это складная система вращения винтов, делающая квадрокоптер достаточно компактным, чтобы вмещаться в хвостовой отсек мотоцикла, но на открытом пространстве разворачивающаяся в достаточно большую площадь
Стоит также отметить, что на эскизах Honda дрон установлен на электрическом спортбайке. Из схематичных эскизов мало что понятно, но из всех возможных вариантов Honda выбрала самый интересный, с учётом потрясающего концепта RC-E 2011 года и давние усилия Mugen (компании, основанной сыном Соичиро Хонда и занимающейся спортивным тюнингом) на TT Zero, которые всегда считались связанными с разработкой электробайка под эгидой Honda.
            Дрон на мотоцикле Урал
          
        Разумеется, дроны и мотоциклы не впервые обсуждаются в одном контексте. Компанию Honda тут опередил никто иной, как Урал, в 2018 году выпустивший мотоцикл с коляской, в которую был встроен коптер DJI Spark. Как и в патенте Honda, Урал подразумевал использование дрона в качестве дополнительного наблюдателя для того, чтобы обозревать путь с высоты. В отличие от Honda, Урал создал не патентную заявку, а готовую модель, за вычетом того, что дрон был не автоматический, а на ручном управлении с пассажирского места. Именно на дисплее пульта от коптера "штурман" видит, что происходит впереди.


