Помните, недавно Honda представила мотоцикл, который не только умеет стоять на двух колёсах безо всяких подставок, но и умеет неспешно двигаться в пешеходном темпе за хозяином? Один из аспектов этой технологии заключается в системе автоматического подруливания - мотоцикл самым буквальным образом вращает передним колесом, чтобы держать баланс. А недавно Honda подала патентную заявку на систему автоматического руления, позволяющую избегать аварий.
Система автоматического руления Honda
Как это обычно и бывает, некоторые соперники Honda по большой четвёрке работают над чем-то подобным, в частности, Yamaha четыре года назад показала Мотобота, который якобы способен был ехать быстрее человека. Его даже выпустили на трек погоняться с Валентино Росси, но благодаря Вале, восстание машин тогда было отложено: Мотобот финишировал спустя полминуты после спасителя человечества. Что же касается Honda, то роботов они делают в других подразделениях, а в мотоциклы систему автоматического управления встраивают для помощи человеку в некоторых весьма специфических ситуациях.
Согласно патенту, мотоцикл оснащается актюатором рулевого управления, модулем управления актюатором, модулем определения препятствий и модулем определения статуса водителя. Актюатор рулевого управления способен подруливать передним колесом по команде модуля управления, а тот в свою очередь управляется модулем определения препятствий.
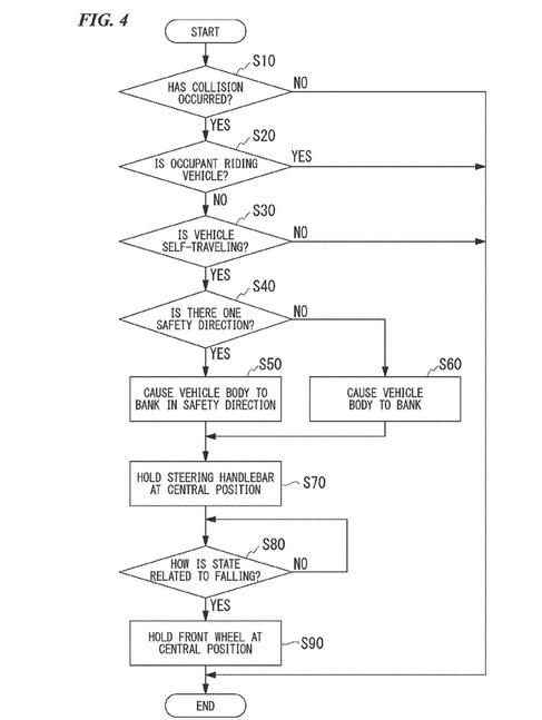
В пояснении указано, что срабатывать данная система должна в тех редких случаях, когда водитель в результате столкновения (или других причин) упал с мотоцикла, а мотоцикл при этом продолжил движение без управления. Это довольно часто случается на гонках, когда в результате хайсайда райдера катапультирует задняя подвеска, но на дорогах это скорее неприятный курьёз, который войдёт в подборку необычных аварий, чем часто встречающаяся ситуация.
            
          
        Однако, нет ничего плохого в том, чтобы в ситуации, когда водитель всё же "покинул" мотоцикл, управление на себя взяла система, способная предотвратить возникновение дополнительного ущерба от двигающегося без управления мотоцикла. Для этого мотоцикл (на эскизах в патенте легко опознать ST1300, но эта модель снята с производства) оснащается дополнительными компонентами: гироскопическим датчиком (G-сенсором), камерой, радаром и лидаром (это устройство типа радара, но использующее для определения расстояния и скорости лазеры, примерно как в лазерном дальномере), по данным которых в модуле управления строится картинка о происходящем вокруг мотоцикла. Он определяет, не случилось ли столкновение, и остался ли райдер после него в седле, и в том маловероятном случае, что мотоцикл едет, а райдера на нём нет, модуль берёт командование на себя.
При помощи камеры, радара и лидара система "видит", что происходит вокруг, и, действуя электронным газом, тормозной системой и рулевым актюатором, она управляет скоростью и направлением мотоцикла, уводят его от столкновений с другими объектами на дороге, а также предотвращая съезд на тротуар, где он может представлять опасность для пешеходов.
Если риска столкновений нет
Если риска столкновений нет, система позволит мотоциклу упасть с рулём, зафиксированным в прямом положении. В этом случае на торец руля придётся основная энергия от столкновения с асфальтом - он сыграет роль своеобразной дуги безопасности, защищая боковую часть мотоцикла от истирания. Кроме того, металлический торец руля при скольжении по асфальту затормозит мотоцикл эффективнее, чем обтекаемый боковой пластик.
Безопасные и удобные мотоциклы
Казалось бы, настолько маловероятное стечение обстоятельств, как движение мотоцикла после падения райдера, просто не заслуживает внимания и тем более разработки специальной технологии, но важность патента в общем-то не в этом. Honda просто рассматривает все возможности, которые позволяет реализовать самоуправляемый мотоцикл, и это - одна из них. В частности, ровно этот же комплект датчиков и управляющих узлов позволит реализовать полуавтоматический круиз-контроль или другие электронные ассистенты. Как вам, например, стиринг-контроль, корректирующий слишком резкие или наоборот недостаточные усилия на руле примерно так же, как трекшн-контрол корректирует тягу, а ABS - тормозное усилие? Кажется странным? Ну, раньше и комбинированные тормоза считались грубым вмешательством в намерения райдера, а сейчас тяжёлые мотоциклы оснащаются ими всё чаще, потому что так безопаснее и удобнее. В итоге, тренд на "безопасные и удобные" мотоциклы определяет направления развития технологий, и это замечательно.


