За последние несколько лет возросло число компаний, занимающихся кикшерингом, то есть, прокатом электросамокатов.
На этом рынке работают как самостоятельные стартапы, так и крупные международные бренды, и каждый игрок стремится откусить долю рынка побольше, внедряя интересные решения вроде безлимитных подписок или автоматического ограничения скорости самоката в зависимости от зоны, в которой происходит поездка. Но главное, что электросамокаты - это прекрасный способ отработать технологии поминутной аренды с минимальными вложениями, а затем применить их уже на чём-то более крупном, технологичном и дорогом.
Похоже, что Honda приняла к сведению потенциал этого рынка и испытывает искушение выйти на него со своим уникальным подходом к идее арендуемых средств индивидуальной мобильности.
Большинство подобных сервисов предлагают в аренду более-менее стандартные электросамокаты с одинаковой простой конструкцией - одноместные (да-да!), с нешироким поликом, на котором нужно стоять, поставив ноги в ряд. Honda же недавно подала несколько патентных заявок на компактный складной аппарат, который больше похож на мотоцикл, в том числе наличием сиденья и подвесок. Его конструкция предполагает, что этот электроскутер будет иметь несколько бОльший запас хода и производительность, чем большинство прокатных самокатов на городских улицах, но тем не менее очевидно, что это будет решение последней мили, а не что-то, предназначенное для долгих и дальних поездок.
Маленький электроцикл Honda
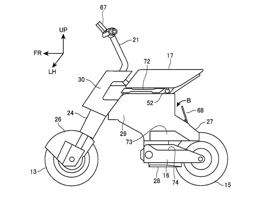
Маленький электроцикл обладает чрезвычайного короткой колёсной базой, и водитель сидит практически над задним колесом. Сиденье имеет подвижную основу и может сдвигаться вперёд, чтобы сделать скутер компактнее, или быть отодвинуто назад, добавляя комфорта и простора. Также патенты содержат изображения складного руля и подножек, позволяющих уменьшить ширину скутера при хранении, и в сочетании с подвижным сиденьем это подразумевает, что электроциклы, создаваемые по патентуемой конструкции, предназначены для транспортировки и хранения по несколько штук.
Что касается других особенностей конструкции, то изображённый в патенте электроскутер имеет комбинированный узел, сочетающий в себе маятник, мотор и трансмиссию, к которому крепится заднее колесо. Батарея установлена под седлом, что означает, что она может быть быстросъёмной (например, собственного Хондовского формата Mobile Power Pack, как в нескольких моделях Honda для домашнего рынка). Но самой интересной конструктивной особенностью скутера является то, каким образом Honda намерена упростить для персонала процесс сбора прокатных скутеров, разбросанных по городу, и возврат их на базу для подзарядки.
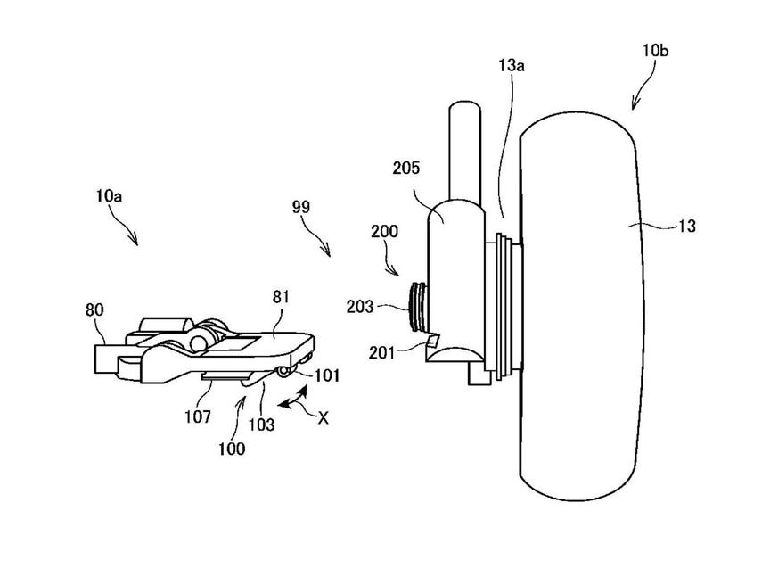
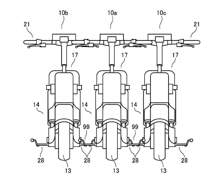
Вместо того, чтобы грузить их в фургон или кузов, Honda предлагает сделать так, чтобы скутеры можно было соединить вместе, чтобы один человек мог управлять целой группой. У подножек скутеров есть вторая секция, обычно находящаяся в сложенном состоянии, но если разложить её и соединить с нижней частью вилки другого скутера при помощи сцепного устройства (напоминающего фаркоп) и цангового захвата, то скутеры образуют жёсткую конструкцию. На эскизе, приложенном к патентной заявке, изображены четыре скутера, сцепленные вместе в форме ромба. Водитель, управляющий этой сцепкой, сидит на переднем скутере, с которого рулит всей сцепкой, а остальные катятся рядом и позади. Также скутеры будут иметь между собой электрическое соединение, так что все они смогут реагировать на движения ручки акселератора и даже на руление. Разумеется, при жёсткой сцепке наклоняться или поворачивать руль они не смогут, а вот снижать тягу на внутренней стороне сцепки при прохождении поворота и добавлять газу на внешней - другое дело.
Планы Honda
Разумеется, патент вовсе не гарантирует того, что эти идеи будут воплощены в жизнь вообще или в ближайшее время, но судя по наличию сразу нескольких патентных заявок, Honda работает над этим проектом. И это неудивительно: Honda очень многое сделала для мототранспорта и во многом определила его современный облик, поэтому наверняка хочет выйти и на динамично развивающийся рынок арендных средств индивидуальной мобильности.



