Honda Gold Wing - это не только мотоцикл, но и платформа для испытания самых футуристичных инноваций, и сейчас компания работает над саморегулирующимся ветровым стеклом, чтобы сделать свой туринговый флагман ещё более удобным и дружелюбным.
Автоматическая регулировка ветровика от Honda
Превращать регулировку ветровика в автоматический процесс может показаться излишеством, тем более когда в этом задействованы микрофоны и даже камеры, но за этим безумием стоит метод. Honda работает над постоянно растущим числом систем с голосовым управлением для будущих версий Голды, и снижение шума ветра для чёткого восприятия команд является важным элементом уверенной и успешной работы таких систем.
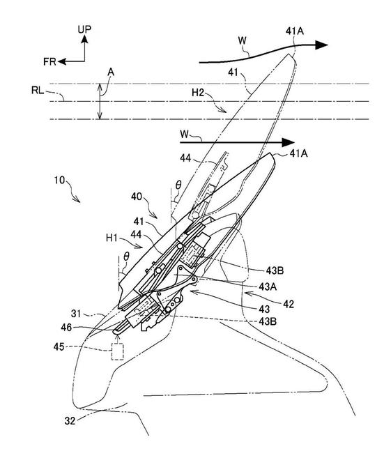
Патентная заявка, поданная Honda в Японии, описывает ветровое стекло с автоматической регулировкой. На шлеме райдера размещается микрофон (хотя в других патентах Honda упоминается микрофон для систем голосового управления, установленный на бензобаке), а на зеркалах - пара камер, обращённых к райдеру. Микрофон, камеры и пульт на руле передают в ЭБУ необходимую информацию, а он в свою очередь управляет ветровиком с помощью той же системы электропривода, что была представлена на Gold Wing 2018 года.
В самом простом варианте работы такой системы она ориентируется на шум ветра, улавливаемый микрофоном, и, с учётом информации о скорости мотоцикла ЭБУ поднимает или опускает ветровое стекло, чтобы уменьшить шум и тряску шлема. Однако, в некоторых положениях ветровое стекло будет своим краем перекрывать обзор райдеру. А поскольку райдеры бывают самого разного роста и телосложения, да ещё и практикуют разные варианты посадки, то, как поясняет патент, камеры отслеживают положение глаз райдера, и на основе этой информации определяется “запретная зона” высоты ветрового стекла, в которой оно будет перекрывать краем обзор. Чтобы избежать этого, ветровик либо поднимается выше этой зоны, либо опускается ниже, обеспечивая наиболее близкое к идеальному положение с точки зрения снижения шума ветра.
Помимо этой системы Honda предусматривает несколько "карт" настройки ветровка (по аналогии с топливными картами ЭБУ) - в одном варианте, например, приоритет отдаётся ветрозащите, а в другом - обзору, и переключаться между вариантами можно будет с пульта на руле. Выбрав приоритет ветрозащиты, вы получите более тихую езду, но ветровик будет временами слегка перекрывать обзор в целях минимизации шума. А если выбран приоритет обзора, то край ветровика будет держаться подальше от линии взгляда, даже ценой дополнительного шума.
Эта идея пополнит обширный набор инноваций, над которыми конструкторское бюро Honda работает для воплощения в Gold Wing. Как известно, Голда скоро получит передний и задний радары, необходимые для современных электронных ассистентов типа адаптивного круиз-контроля, системы мониторинга слепых зон и системы предотвращения столкновений. Более того, ведутся работы над ещё более экстремальными ассистентами, включая систему вспомогательного рулевого управления. И поскольку конкуренты вовсю используют и радары, и камеры для отслеживания происходящего вокруг их мотоциклов, аналогичные системы появятся на Honda Gold Wing скорее раньше, чем позже.


