Компания BMW Motorrad является одним из пионеров в создании двухколёсного электротранспорта, уже почти десять лет производя скутер C Evolution, а затем и CE 04, пришедший ему на замену. Но несмотря на множество концептов и шоу-байков компании ещё только предстоит выпустить в серию электрический мотоцикл в пару к электроскутеру. И судя по недавней патентной заявке, первым мотоциклом BMW на электротяге может стать городская модель, имеющая множество общих деталей с CE 04.
Электрические мотоциклы BMW
Электрические концепт-байки от BMW в основном представляют собой топовые модели, и в моделях Vision DC и Vision Next 100 силовая установка даже визуально имитирует знаменитый оппозитный двигатель, ставший синонимом бренда. Между тем, действующий прототип электрического дорожника BMW представляет собой здоровенное и тяжеленное чудовище, во многом основанное на компонентах R-серии и снабжённое громоздкими тяжёлыми батареями и электродвигателем от автомобильного подразделения компании.
И какой бы привлекательной ни была идея высокопроизводительного и дальнобойного электроцикла, реальные примеры таких моделей исчезающе редки. Такие компании, как Zero и Energica, показали, что электроциклы могут соперничать со среднекубатурными бензиновыми мотоциклами, но при этом и цена, и запас хода, и скорость зарядки по-прежнему остаются слабыми местами электрических моделей.
А вот в сегменте городских моделей всё гораздо проще. Эти мотоциклы могут иметь меньший запас хода и менее производительный мотор, зато и низкие цены на них позволят быстрее окупить переход на электротягу, экономя на бензине, а на городских скоростях моментальная тяга и простота использования электроциклов в сочетании с их практически полной бесшумностью и отсутствием выхлопа становятся всё более убедительными аргументами в пользу этой технологии. Не случайно первые десять лет работы над электроциклами BMW занимались скутерами, и многие конкуренты идут ровно тем же путём. Логичным следующим шагом стало бы использование имеющихся наработок в формате мотоцикла, и именно об этом идёт речь в новом патенте от BMW.
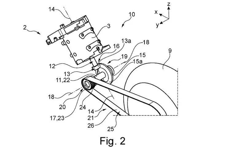
Мотоцикл на сопровождающих патент эскизах явно того же размера, что и серия G 310, формой напоминает BMW G 310 R, но с большим передним колесом, как у G 310 GS. Но главная хитрость состоит в том, что в нём, похоже, используются компоненты CE 04 в более компактном формате.
Все основные элементы - аккумуляторы, управляющая электроника и мотор - выглядят так, будто взяты у CE 04. С максимальной мощностью 42лс CE 04 на 8 сил мощнее одноцилиндрового мотора G 310 и более чем вдвое превышает по значению крутящего момента (62Нм), чего вполне достаточно, чтобы скомпенсировать дополнительный вес электрической силовой установки на ускорениях.
Однако, у BMW G 310 намного более короткая колёсная база, всего 1380мм против 1685 у CE 04, и компоненты электроскутера в мотоцикле были хитроумно переставлены.
Особенности
Первое и самое интересное - то, что мотор был перевёрнут на 90 градусов, и теперь его вал расположен вдоль оси мотоцикла, а не поперёк, как раньше. Кроме того, он наклонён так, что выходной вал смотрит вниз и назад под 45 градусов, что делает компоновку ещё компактнее. Вал двигателя приводит коническую передачу, которая передаёт тягу на передний шкив, одновременно действуя как редуктор для повышения тяги и понижения скорости вращения двигателя. Ремённая главная передача с большим задним шкивом являются ещё одной частью трансмиссии, снижающей передаточное число.
Как и мотор, аккумуляторная сборка на эскизах выглядит как взятая от CE 04, и она тоже наклонена под острым углом для компактности. Помимо сохранения короткой базы это решение поднимает центр масс, что должно обусловить более мотоциклетную развесовку и управляемость по сравнению с приземистым и устойчивым скутером.
Электронные блоки управления и зарядное устройство, тоже, кажется, взяты с CE 04 и переставлены, а один из блоков электроники смещён в днище мотоцикла. Такая плотная мотоциклетная компоновка, как ни странно, не лишена багажной ёмкости, поскольку фальшбак остаётся пустым, а его объём достаточно велик для того, чтобы вместить шлем.
Используя компоненты от CE 04, BMW сможет существенно сэкономить на разработке, и тем самым снизить цену нового электроцикла, хотя даже с производительностью уровня G 310 электрический мотоцикл от BMW, вероятно, будет значительно дороже, чем бензиновый. Для сведения, цены на CE 04 начинаются с 11795 долларов.
BMW уже зарезервировали право на целый ряд товарных знаков для будущих электроциклов, использовав буквы DC, за которыми следует число, обозначающее уровень производительности. В будущем появится и линейка скутеров под буквами CE (вероятно, скоро пойдёт в серию концепт CE 02, менее производительный, чем CE 04). Учитывая общие компоненты и уровень мощности с CE 04, производительность которого условно равна 400-кубовому бензиновому мотоциклу, весьма вероятно, что упомянутый в этой патентной заявке электроцикл будет называться DC 04.


