Крыло, прикреплённое на мятник, служит сразу двум целям - отсекает брызги грязи с колеса и служит точкой крепления для держателя номера. А известный производитель шин придумал ещё и третье применение для консоли крыла - внешний привод на колесо.
Крыло с приводом на колесо от Michelin
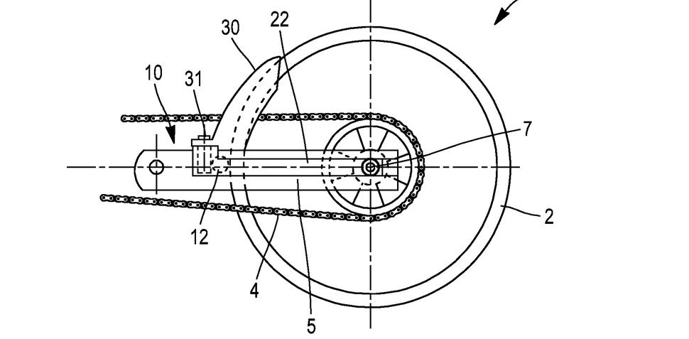
Патентная заявка от Michelin описывает конструкцию электропривода с движителем (то есть передаточным элементом), расположенным в крыле, посаженном близко к шине, так называемом хаггере. Такая система позволит пользоваться электроприводом для медленного маневрирования на мотоцикле, в частности - для движения задним ходом.
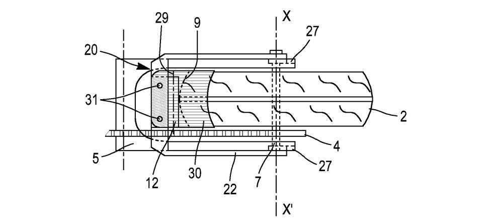
Суть довольно простая: ролик (№12 на схеме), скрытый под крылом, приводится небольшим электромотором. Щелчком переключателя на руле крыло подводится ближе к колесу, ролик прижимается к шине, и электропривод через него за счёт силы трения вращает колесо в любом из двух направлений.
В патенте электропривод описан как 3,6-вольтовый мотор постоянного тока, способный выдавать от 2 до 4 ньютон*метров крутящего момента, чего, по заявлению Michelin, будет достаточно для движения со скоростью 1км/ч. Это, конечно, немного, но достаточно.
Для чего?
Для чего? Для того, чтобы перекатывать мотоцикл, не вставая с сиденья - хоть вперёд, хоть назад, например в узкий закуток на парковке или около бензоколонки. Также патент предлагает использовать эту функцию для подъёма по пандусу, например при погрузке мотоцикла. Малая мощность мотора позволит избежать излишнего износа шины, о чём Michelin, конечно, обязаны позаботиться.
Согласно патенту, мотор привода будет запитываться от 3,6-вольтового аккумулятора на 2 ампер*часа, установленного там же в крыле (на схеме он под №14). Плюс такой компоновки в том, что она практически полностью автономна и может быть установлена практически на любой привычный маятник. Это позволит Michelin позиционировать данное устройство как опцию для огромного числа мотоциклов, современных и не очень.
Если же сочетание заднего хаггера с держателем номера по стилю не подходит к конкретной модели, патент Michelin предлагает ещё один вариант установки внешнего привода - в крыле спереди задней шины. Также патент упоминает вариант установки этой системы на переднее колесо - в этом случае она крепится к вилке, но установка на заднем колесе проще, и система столкнётся с меньшей вибрацией, чем на переднем.
Как обычно и бывает, сам по себе патент не означает, что этот продукт пойдёт в серийное производство и появится в продаже. Но зато мы знаем, что инженеры Michelin в своих разработках выходят за пределы компаундов и рисунков протектора, а значит, в их лабораториях могут готовиться и ещё более интересные проекты!



