Система активных крыльев CFMoto
Над подвижными аэродинамическими крыльями уже кто только не работал. Например, BMW придумали крылышки, которые остаются горизонтальными даже тогда, когда мотоцикл наклонён, и продолжают создавать расчётное прижимное усилие. У Kymco была идея крыльев с регулируемым углом атаки, предотвращающих вилли. А CFMoto работает над собственной системой активных крыльев и недавно подала на этот счёт патентную заявку. В ней описана система, которая при необходимости раскрывает крылья, а затем складывает их вровень с капотировкой, когда они не нужны.
Система активных крыльев CFMoto
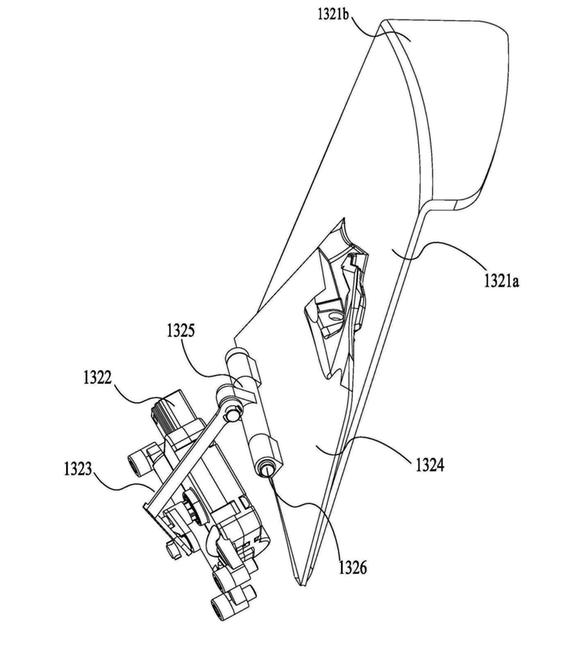
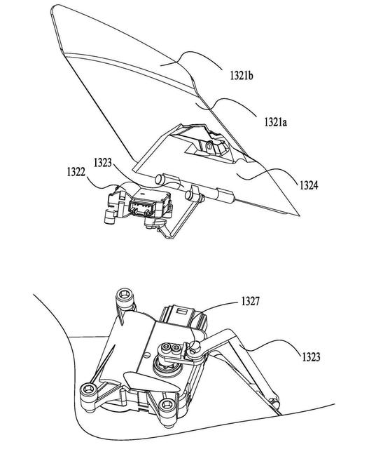
В патенте объясняется, что крылышки крепятся к основной части капотировки на шарнирах и оснащены актюатором, который складывает и раскладывает шарнир. Актюатор представляет собой сервопривод с самоблокирующейся червячной передачей внутри, благодаря чему давление на крыло (например, прижимное усилие, создаваемое им) не передаётся на двигатель.
Патент CFMoto описывает такой алгоритм работы: на низких скоростях или на неподвижном мотоцикле крылья убираются, не мешая и не портя внешний вид мотоцикла. На скорости от 60 до 100км/ч крылья выдвигаются и создают прижимное усилие, повышая устойчивость. В патенте предполагается, что крылья могут быть изготовлены из пластика или карбона, а механизм - из алюминия или титана для прочности и минимального веса.
Кстати, мотоцикл, на котором эти крылья будут установлены, вероятно, уже был представлен публике. В 2023 году CFMoto выкатили два прототипа на CFMoto Day на международном автодроме в Чжучжоу. Один из них - трёхцилиндровый спортбайк, который впоследствии стал 675SR (675SS в США), а другой - четырёхцилиндровый 500SR. С тех пор четырёхцилиндровый двигатель и шасси появились в виде ретро-модели 500SR Voom, но оригинальный прототип 2023 года имел современный стиль и пару отдельных пластиковых панелей, установленных заподлицо в переднем обтекателе. Тогда не было понятно, зачем нужны эти отдельные панели, но сейчас кажется, что это вполне могут быть откидные крылья. В последние недели прототипы серийной версии 500SR опять были замечены на испытаниях в Китае, хоть и с обновлённой капотировкой, в которой эти отдельные панели заменены фиксированными крыльями.
Ожидается, что в ближайшие несколько месяцев CFMoto представит ещё несколько моделей спортбайков, включая и упомянутый 500SR, и более крупный 750-кубовый четырёхцилиндровый 750SR. Ещё более интригующими являются планы CFMoto создать супербайк с двигателем V4 литрового класса мощностью свыше 200лс. Возможно, как раз для этого мотоцикла складные крылья будут особенно полезны.
В мотоциклостроении складные аэродинамические элементы - это новая идея, но в современных суперкарах это стандартная практика, да и на более прозаичных моделях подобные технологии существуют уже почти 40 лет. VW Corrado 1988 года - пожалуй, первый серийный образец с задним спойлером, который поднимался в воздушный поток по мере увеличения скорости, а многие современные суперкары стоимостью в миллион долларов имеют крылья, которые складываются, когда не нужны, и могут менять угол атаки при использовании.
Растущий интерес мотопроизводителей к подвижным винглетам предполагает, что подобная технология в недалёком будущем появится и на мотоциклах.



