Kawasaki Ninja ZX-4R
Главный слух этой недели в мотоциклетном мире гласит, что Kawasaki якобы работает над Kawasaki Ninja ZX-4R, четырёхцилиндровым спортбайком рабочим объёмом 400куб.см, основанным на малокубатурной модели ZX-25R, выпускаемой для азиатских рынков.
Kawasaki ZX-25R
Kawasaki ZX-25R появилась почти полтора года назад для азиатских рынков, типа Индонезии и Японии, где тарифы на страхование и несколько категорий водительских прав создали нишевый спрос на 250-кубовые спортбайки. Большинство моделей в этой категории основаны на одно- и двухцилиндровых двигателях, так что рядная четвёрка ZX-25R сильно выделяется на их фоне и даёт своим владельцам ощущение причастности к "большим" спортбайкам.
Kawasaki Ninja ZX-4R
При этом на других рынках пытаться продавать ZX-25R не имеет особого смысла: она слишком малокубатурная, и при этом, пожалуй, слишком дорогая для своих размеров. Другое дело - 400-кубовый вариант, который впишется и по цене, и по производительности в сложившуюся нишу. Вот почему четырёхцилиндровый 400-кубовый спортбайк многим кажется столь привлекательным.
Как часто бывает с японскими компаниями, слух пошёл с японского издания Young Machine, известного публикациями ещё не анонсированных моделей. Как и большинство постов Young Machine, он был полон пространных рассуждений о возможности создания Kawasaki Ninja ZX-4R и о том, как он должен быть устроен, если бы действительно существовал. Заявлений о том, что ZX-4R действительно разрабатывается, издание не делало, но тему подхватили другие мотоиздания, превратив размышления в слух, не подкреплённый ни толикой фактов.
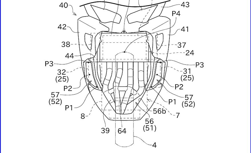
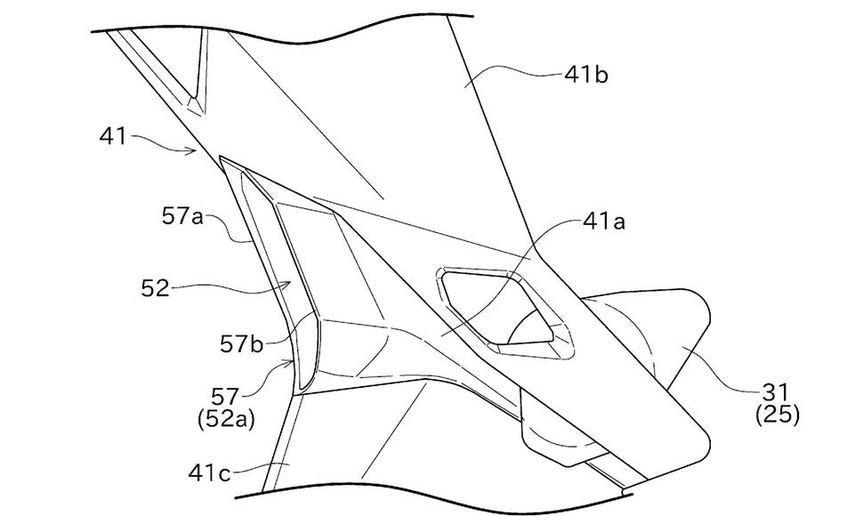
Ну, вот вам и факты: довольно уже не новый патент Kawasaki, из которого следует, что работа над Kawasaki Ninja ZX-4R велась или всё ещё ведётся. Основная тема патента - обтекатель со встроенным воздуховодом, направляющим воздух вокруг радиатора и выпускных патрубков прямо на двигатель.
На эскизе изображён мотоцикл, очень похожий на ZX-25R, на котором проиллюстрировано, как идея патента работает с боковыми воздуховодами в обтекателе. Судя по описанию патента, дополнительный обдув необходим из-за высокооборотистости двигателя. В частности, у мотора ZX-25R отсечка наступает на 17000об/мин, так что дополнительный обдув ему не помешает. Тем более, что вариант "принудительного инерционного обдува" позволит обойтись довольно компактным радиатором.
При чём же здесь ZX-4R, если на эскизе изображён ZX-25R? А при том, что в тексте прямо сказано, что "упомянутое изобретение может быть использовано на мотоцикле с четырёхцилиндровым двигателем рабочим объёмом 400 кубических сантиметров" - то есть, о существующей 250-кубовой модели они не упоминали. А значит, узнаваемый обтекатель ZX-25R был сразу рассчитан на более кубатурную модель, и лишь потом адаптирован для азиатской четвертушки. То есть, дела обстоят не так, как гласили слухи, а ровно наоборот: изначально разрабатывался Kawasaki Ninja ZX-4R, и уже на его основе сделали ZX-25R.
Так куда же делся оригинальный 400-кубовый вариант? Видимо, его планировали выпускать для европейского и американского рынка, но на данный момент на них уже присутствует двухцилиндровый Ninja 400, и производителю нужны какие-то веские основания для его замены на четырёхцилиндровую модель.






