BMW не смогли бы оставаться одним из крупнейших игроков в мотоиндустрии, если бы прекратили постоянную разработку новых фишек для привлечения мотоциклистов.
Взять, например, недавно опубликованный патент, поданный в германское ведомство по патентам и товарным знакам, в котором демонстрируется на первый взгляд довольно простая адаптивная аэродинамическая система. Заявка была подана в патентное ведомство в августе 2021 года, а опубликована информация была в конце марта 2022.
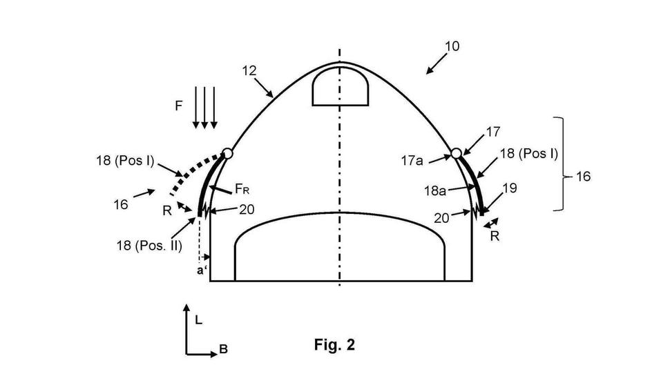
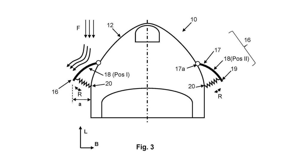
Некоторые патенты не слишком легко понять, если не сопровождать текст изображениями, но конкретно в этом всё понятно и по чертежам. На них изображён мотоцикл серии GS, на переднем обтекателе которого расположены три пластины, очень напоминающие регулируемые спойлеры для ветрового стекла, и тоже предназначенные для перенаправления набегающего потока воздуха.
В сопроводительном тексте сообщается, что подобным устройством BMW может оснастить любой мотоцикл с числом колёс от двух до четырёх (да, это скорее утечка, чем ошибка - вероятно, они замыслили выпустить четырёхколёсный мотоцикл). Кроме того, с каждой стороны мотоцикла может быть установлено от одной до трёх таких пластин для равномерного распределения воздушного потока при движении.
Как это работает?
Судя по патенту, комбинация пружин и давления на пластины набегающего потока автоматически регулирует их положение. То есть, от райдера не требуется ничего регулировать ни вручную, ни на ходу кнопками, а значит, и отвлекаться не придётся.
Когда райдер движется медленно или вообще остановился, направляющие воздух элементы будут выступать чуть больше, направляя воздух (и, вероятно, дождь) от райдера и мотоцикла. С ростом скорости подпружиненные пластины будут прижиматься к корпусу более мощным лобовым потоком, не создавая ему большого сопротивления и не отклоняя его, а лишь слегка перенаправляя.
Собираются ли BMW использовать эту систему на грядущем R 1300 GS? На данный момент это совершенно неясно, но, безусловно, возможно. Как поясняют сами BMW в патентном документе, патент касается самих спойлеров, а не их использования на какой-либо модели мотоцикла или например их количества. То есть, если BMW сочтут установку подпружиненных боковых спойлеров выгодной, они могут установить их на любом мотоцикле, каком только пожелают, включая будущую версию CE-04.


