Harley Davidson с суперчарджером на V-твины
Наддув
Обычно мотоциклетные двигатели оснащают наддувом для получения максимальной производительности. Сами слова нагнетатель, турбина, компрессор вызывают в воображении нечто мощное, ревущее и всех побеждающее. Возьмите, к примеру семейство Kawasaki H2 - единственные на сегодняшний день серийные мотоциклы, оснащённые нагнетателем с завода - их агрессивный дизайн и невероятная скорость, на которую они способны, полностью подчёркивают стереотипы о суперчарджерных супермонстрах.
Однако, в автомобильной индустрии разные виды наддува используются не только для повышения производительности двигателей, но и для повышения их эффективности с точки зрения сжигания топлива, а значит - соответствия более строгим эконормам.
Да, для суперкара нагнетатель — это почти обязательный атрибут, но и малыши-кейкары с двигателем в 0,7 литра тоже частенько бывают турбированы с завода.
Патент от Harley Davidson
В мотоциклетном мире наблюдается обилие различных патентов и концептов, касающихся двигателей с нагнетателями, но реальных моделей немного, а серийных и того меньше. Тем интереснее выглядит один из новых патентов от Harley Davidson, описывающий планы компании по установке суперчарджеров на большие V-твины. В патенте не поясняется, идёт ли речь о серии Touring, или же о Softail, а также будут ли оснащаться наддувом нынешние версии двигателей или же следующие, обновлённые. Зато в нём раскрыт сам факт того, что Harley Davidson разработали для своих двигателей наддув, а также ряд его конструктивных особенностей.
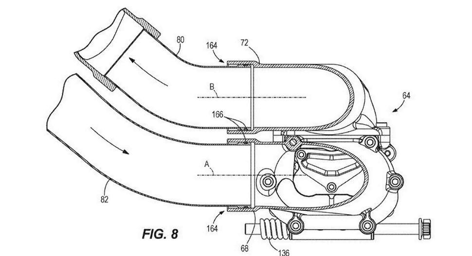
На многочисленных эскизах изображён сам нагнетатель (64), механический шкив, приводящий его в движение (88), а также входной и выходной порты (68, 72). Вкратце, коленвал двигателя приводит нагнетатель при помощи ремённого привода, закрытого кожухом (то есть, нагнетатель, изображённый в патенте, представляет собой компрессор с механическим приводом от коленвала). Поступающий через фильтр воздух сжимается в нагнетателе и поступает в камеру сгорания через впускной коллектор напрямую, что, означает отсутствие в схеме интеркулера, а значит, не самую высокую производительность компрессора. Вполне оправданное решение, учитывая невысокие обороты, на которых работают V-твины.
Разумеется, приводной ремень будет подвержен растяжению. Это компенсируется саморегулирующимся креплением к корпусу двигателя, в котором пружина сдвигает нагнетатель по мере вытягивания ремня, тем самым обеспечивая его натяжение. Конструкция выглядит довольно простой и надёжной, но остаётся один вопрос - зачем?
Планируют ли Harley суперчарджерные двигатели в качестве высокопроизводительных силовых агрегатов для своего рода спортивных мотоциклов? Возможно, для участия в каких-то популярных американских гонках типа King of the Baggers? Или же они готовят почву для более экологичных двигателей, соответствующих требованиям всё более жёстких экологических стандартов? В любом случае, интересно наблюдать развитие технологий в этом направлении, и мы надеемся увидеть их воплощение в самом ближайшем будущем.




