Indian Motorcycle готовится представить новую туристическую модель на 2022 модельный год, основанную на том же моторе, что и Challenger. Новая модель, оснащённая двигателем PowerPlus с жидкостной системой охлаждения, будет называться Pursuit (Стремление) и выпускаться в двух вариантах дизайна, Limited и Dark Horse. Также для неё будет доступна опциональная конфигурация Premium Package.
Indian Pursuit 2022
Заявка на регистрацию торговой марки Pursuit была зарегистрирована ещё в прошлом году, одновременно с заявкой на регистрацию марки Guardian. Уже тогда звучали предположения, что этот мотоцикл будет оснащён 1768-кубовым мотором PowerPlus, и действительно, так и оказалось. Это известно из базы данных VIN-номеров, в которую Indian выгрузили информацию о новой модели. Суть в том, что каждому бренду выделяется определённый диапазон VIN-номеров, а тот в свою очередь должен представить базе данных информацию о том, какому номеру какая модель соответствует и какие характеристики ей присущи.
Информация в базе данных подтверждает, что Indian Pursuit будет оснащён двигателем PowerPlus, а также что он будет выдавать те же 122лс, что и Challenger. Кроме того, из базы данных известно, что модель будет выпускаться в двух вариантах, Dark Horse и Limited, а "базовой" версии пока не предполагается. Однако, информации об отличиях Pursuit от Challenger в этих записях не содержится.
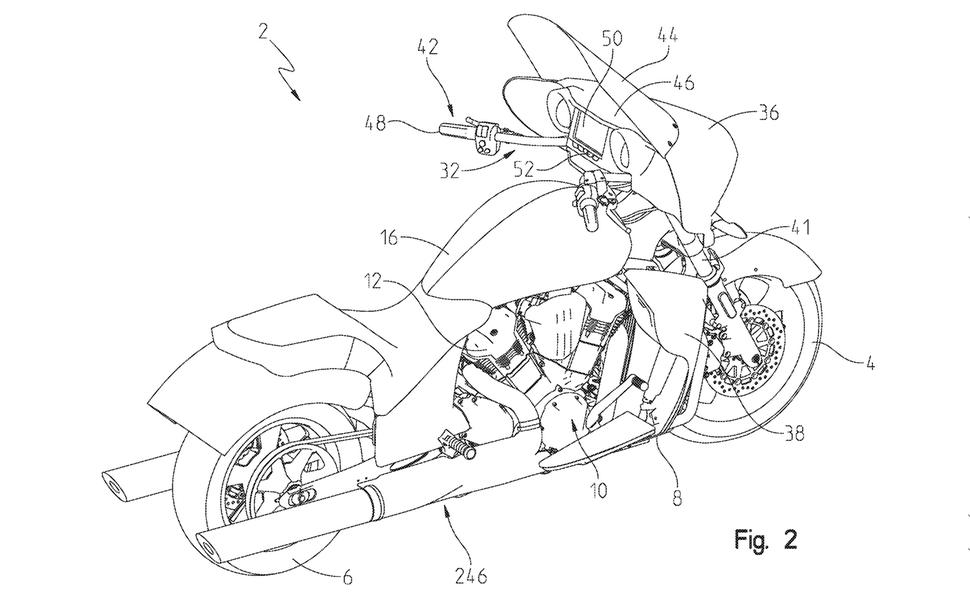
Зато намёки на эти отличия можно найти в патентной заявке, поданной Indian. На приложенном к ней эскизе изображён мотоцикл с двигателем PowerPlus, подвижным обтекателем, установленным на вилке, высоким ветровиком и ветрозащитными "валенками", закрывающими колени. Судя по тому, что на известные модели этот мотоцикл не похож и оснащён новым мотором, это скорей всего и есть Pursuit, и несмотря на отсутствие на эскизе багажных систем, можно предположить, что как минимум боковые кофры на нём будут.
Обтекатель, бензобак, седло и крылья на эскизе показаны весьма условно, но это потому, что непосредственно к теме патента они не имеют прямого отношения. Патент касается системы забора воздуха, аналогичной той, что на Challenger, но на внутренней стороне обтекателя изображена приборная панель вроде той, что стоит на Chieftain и Roadmaster, а ветровик намного выше, чем любой штатный на нынешних моделях с бэтвингами.
Обычно Indian представляет свой модельный в сентябре, но в этом году всё иначе - как непосредственно из-за пандемии и из-за проблем с поставками, так и потому, что мир вообще меняется - например, Harley, главный конкурент Indian, перенесли презентации на конец зимы поближе к сезону, и Indian решили не отставать, представив в феврале обновлённую линейку Chief, а вот об остальных моделях пока ничего не известно.
Кстати, из той же выгрузки из базы данных VIN-номеров следует, что Indian Challenger в 2022 модельном году будет выпускаться в версиях Elite и Jack Daniel’S Limited Edition. Также там фигурирует Chieftain Elite, а вот Roadmaster Elite в VIN-номерах, зарезервированных на 2022 год, отсутствует.
Тем временем, на сайте Indian размещён таймер обратного отсчёта до 15 октября. Судя по всему, это дата анонса Challenger Jack Daniel’s Limited Edition 2022 года, а вот когда будут представлены Challenger Elite или новый Pursuit, пока неясно.


