Десятилетиями телескопическая вилка доминировала в конструкции передних подвесок мотоциклов, легко преодолевая трудности и развиваясь с появлением новых потребностей, технологий и материалов. Но попытки создать лучшую альтернативу не прекращаются всё это время, и очередную из них сделали Piaggio.
Новая подвеска Piaggio
Итальянская компания Piaggio работает над системой передней подвески, основанной на разновидности концепции рычажного механизма Уатта, приблизительно повторяющей линейное движение скользящей телескопической вилки, но способной свободно изменять геометрию для создания эффекта клевка (для информативности) или наоборот раскладывания подвески на торможении, а также допускающей одностороннюю компоновку, подобно подвескам некоторых скутеров.
Рычажный механизм Уатта существует уже несколько столетий. Впервые он был запатентован в начале 19 века Джеймсом Уаттом, но судя по всему, новый патент Piaggio является первой реализацией механизма Уатта в передней подвеске мотоцикла.
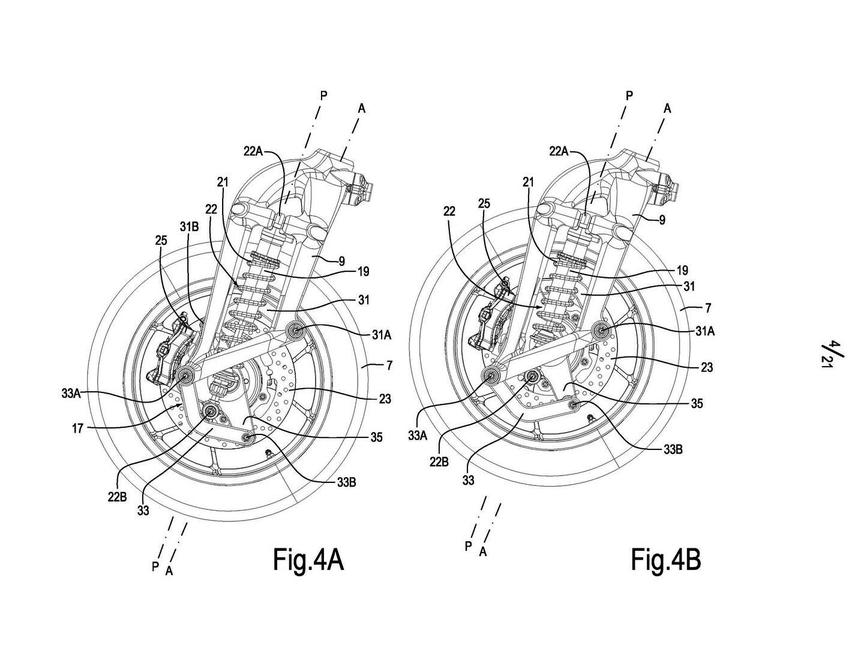
Сама система состоит из трёх рычагов, соединённых встык и образующих Z-образную конструкцию. Передняя ось находится посередине центрального рычага (35), а свободные концы верхнего (31A) и нижнего (33A) звеньев прикреплены к поворотной "вилке" (9), отходящей вниз от рулевой колонки. Piaggio в патенте иллюстрирует несколько вариантов конструкции, но наиболее детальные изображения показывают эту конструкцию изготовленной из литого алюминия, что создаёт впечатление серийных компонентов.
На первый взгляд, эта конструкция мало чем отличается от консольной подвески, используемой на скутерах Vespa, в которой обычный амортизатор с внешней пружиной установлен через рычажную систему. Но в такой подвеске колесо вслед за подвеской ходит по дуге, и этого удалось избежать в новой конструкции Piaggio благодаря двум дополнительным рычагам - ведомому рычагу (33) внизу и ведущему (31) сверху, соединённым почти вертикальным центральным звеном (35), удерживающим колесо. Ось колеса в этой конструкции движется почти так же, как если бы она была установлена в обычной телескопической вилке - не совсем прямо, но в пределах 1,2мм от движения телескопической вилки. Это потенциально улучшает управляемость, хотя расположение рычажных механизмов и тормозного суппорта (установленного, как и колёсная ось, на вертикальном центральном звене 35) повлияет на антиклевковую характеристику конструкции (поведение на торможении).
Но если система так удачно воспроизводит движение телескопической вилки, то почему бы не использовать вместо неё телескопическую вилку?
Отчасти ответ состоит в возможности настроить поведение на торможении, а отчасти - в весе и жёсткости системы Piaggio. Вилки должны выдерживать значительные нагрузки, особенно на торможении, и поскольку они имеют круглое сечение, они равно устойчивы и к боковым нагрузкам. Это не всегда хорошо, поскольку когда мотоцикл наклонён в повороте, боковой изгиб подвески помог бы сгладить удары. Системы типа вилки 6D Flex от MotoCzysz призваны решить эту проблему благодаря различным характеристиками гибкости в продольном и поперечном направлениях.
Но ещё одним важным преимуществом системы Piaggio является то, что она компактная и односторонняя, а значит, подходит для наклонных трициклов, изобретённых компанией. Собственно, в Piaggio MP3 и так используются односторонние подвески, как на Vespa - с одной стороны точно такая же, а с другой её зеркальная копия, и новый патент показывает, что идентичную подвеску можно использовать и на двухколёсном скутере, и на наклонном трайке (опять же с зеркальной копией на втором переднем колесе). Сам трайк, кстати, весьма напоминает большекубатурный трицикл в стиле Yamaha Niken, который компания опубликовала некоторое время назад - с решётчатой мотоциклетной рамой, задним подрамником и параллелограммом как на трёхколёсном скутере MP3, но иначе крепящимся к раме.
На эскизе двухколёсного варианта переднее колесо выглядит довольно маленьким - скорей всего для обеспечения достаточного хода подвески. А на трёхколёсной конструкции небольшие передние колёса почему-то смотрятся вполне гармонично - наверное, потому, что пока это незнакомая модель, не вызывающая предубеждений относительно её пропорций.
А ещё один вариант рычажной подвески Уатта показан на скутере, определённо опознаваемом как Piaggio Beverly. Также патент содержит иллюстрации с трубчатыми рычагами, более похожими на прототипы с несколькими вариантами конфигурации рычажных систем.
Как обычно, патент не стоит считать гарантией того, что эта конструкция пойдёт в производство. Но похоже, что конкретно у этой конструкции есть реальный потенциал, особенно в нише наклонных трёхколёсников, которую Piaggio хочется считать своей.


