Геометрия и жёсткость маятника - одни из самых тщательно просчитываемых элементов шасси. Особенно в гонках, где форма и контролируемая гибкость напрямую влияют на время круга. Но здесь всегда есть компромисс: то, что нужно для идеального руления, не слишком хорошо сказывается на с максимальном ускорении на прямиках. Именно над этой проблемой сейчас работают инженеры Yamaha, и одно из очевидных решений - это маятник с изменяемой геометрией, патентная заявка на который недавно была опубликована.
Изменяемая геометрия шасси
В MotoGP уже успели оценить потенциал изменяемой геометрии шасси. На современных мотоциклах используются всё более сложные системы под общим названием holeshot device. Да, к сожалению, нормального русского термина для них пока не придумали, иногда называют "стартовыми устройствами", но этот вариант какой-то невнятный. В общем, holeshot device. Изначально эти штуки стояли на внедорожных мотоциклах с длинноходной вилкой, и позволяли стартовать со сжатой передней подвеской, тем самым делая ниже центр тяжести, что позволяло интенсивнее разгоняться и уменьшало склонность к вилли. Постепенно подобные вещи проникли и в ШКМГ. В какой-то момент Ducati представила систему занижения задней части, которая позволяла ещё улучшить старт. К 2021 году системы изменения спереди и сзади уже широко применялись по всей сетке MotoGP. И быстро выяснилось, что их потенциал выходит далеко за пределы стартовой прямой: команды научились активировать их на протяжении всего круга, чтобы улучшить ускорение на выходе из поворотов.
Маятник с изменяемой геометрией Yamaha
Сейчас ситуация меняется. Передние устройства изменения высоты подвески на ходу запретили с 2023 года (разрешены только одноразовые системы для старта), а аналогичные задние устройства и holeshot devic-ы в целом будут полностью запрещены с сезона-2027. Но патентная заявка Yamaha показывает, как эти системы могли бы развиваться, если бы правила не встали на их пути.
Современные системы изменения высоты задней подвески изменяют положение одного штока в прогрессии, опуская мотоцикл без необходимости сжимать пружину и амортизатор. Поскольку электроника в подобных системах в MotoGP давно под запретом, современные устройства - чисто механические. По сути, штатный шток заменяют гидравлическим или газовым упором, который можно фиксировать в разных положениях. Когда мотоцикл проседает при разгоне и пилот активирует управление высотой, упор выдвигается, фиксируясь в "длинном" положении. Это делает заднюю часть ниже, максимизируя зацеп (по принципу дрэгстеров). При торможении устройство разблокируется, позволяя упору укорачиваться по мере отбоя задней подвески, и снова фиксируется уже в «коротком» режиме. Благодаря этому подвеска остаётся высокой на входе и в средней фазе поворота, обеспечивая наилучшую обратную связь и зацеп в наклоне.
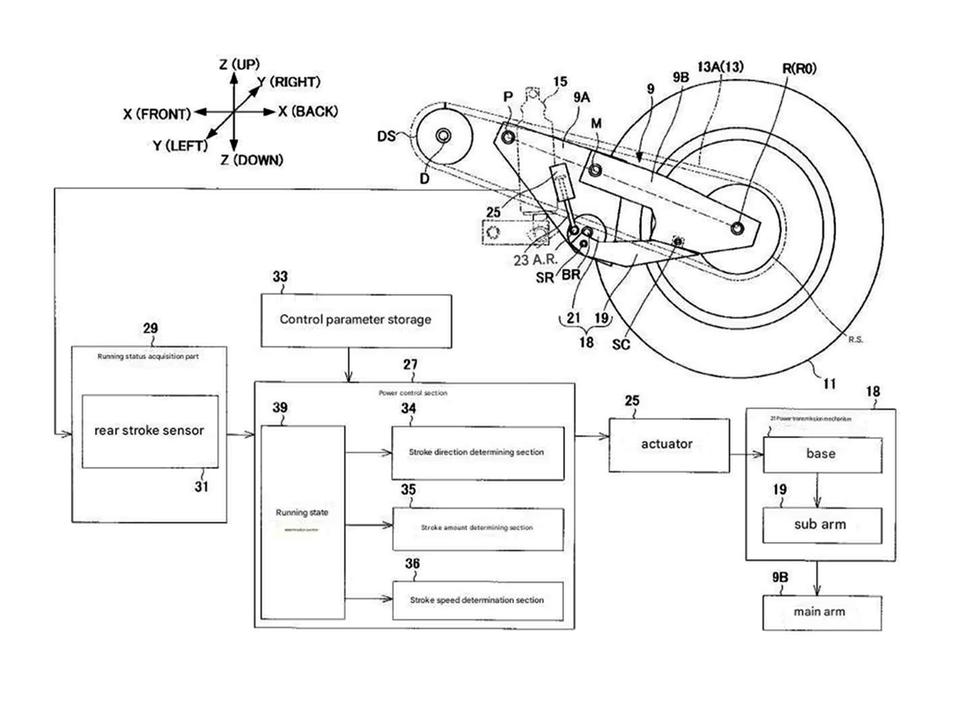
Идея Yamaha тоже использует гидравлический упор. Но он крепится не к тягам заднего амортизатора, а находится внутри самого маятника и работает в паре с шарниром посередине маятника. Передняя часть маятника крепится к тягам подвески традиционно, а вот заднее колесо можно поднимать или опускать независимо - благодаря тому самому шарниру и гидравлическому упору. Упор соединён с эксцентриковым механизмом, который либо удлиняет, либо укорачивает нижнюю скобу маятника. Конструкция, от которой мозг закипает.
Но вот что любопытно: похоже, эту систему проектировали не для MotoGP. В отличие от полностью механических устройств изменения высоты задней части, разрешённых нынешними правилами до конца 2026 года, в патентной заявке Yamaha речь идёт об управлении с помощью сервопривода. Система получает сигналы от датчиков, определяющих, разгоняется мотоцикл, тормозит или проходит поворот. В MotoGP такое было бы незаконно. Значит, система из нового патента - экспериментальный стенд для изучения потенциала полностью изменяемой геометрии маятника. В заявке также описывается, как система реагирует на усилия в задней подвеске, возникающие из-за изменения натяжения цепи при разгоне и торможении.
Слишком сложно? Почти наверняка. Но даже если эта система никогда не появится ни в гонках, ни на серийных моделях, Yamaha, без сомнения, извлечёт из неё ценные уроки.

